原点开关
Haydon提供的微型电子开关可以检测永磁式和混合式固定轴直线步进电机的原位。该原位开关安装在Haydon固定轴式直线电机的后套筒上。它让用户能够识别电机的启动、停止或原位。触点可以常开或常闭,具体取决于您的偏好。触点闭合可在一个步进位置内重复,以识别每步低至0.0005英寸(0.0013厘米)的直线位移。还可提供多个触点开关。该开关使设备制造商能够更精确地监控运动,从而实现更好的控制和质量管理。在订购具有原位开关的电机时,零件号应以“S”开头。有关其他订购信息,请联系Haydon Kerk Motion Solutions。
因此所需的10盎司激励力可能不适用于较小的永磁式直线步进电机。
技术数据:
| 触点等级(标准): |
1.00安培 @ 120 VAC |
| 1.00安培 @ 28 VDC |
| 工作温度: |
-30°C至+55°C(-22°F至131°F) |
| 触点电阻: |
最初在2-4 V DC,100 mA时,<20毫欧姆(典型值) |
| 电气寿命: |
满载时测得60,000次通断循环 |
| 原理: |
|
| 有多个触点选配项 |
尺寸 = 英寸(毫米)
S25000系列原位开关
|
| 行程 |
DIM“A”扩展
|
DIM“B”缩回
|
0.512 (13)
|
1.329 (33.76)
|
0.787 (19.99)
|
0.708 (18)
|
1.743 (44.27)
|
0.994 (25.25)
|
0.984 (25)
|
2.293 (58.24)
|
1.269 (32.23)
|
1.22 (31)
|
2.765 (70.23)
|
1.505 (38.23)
|
零位传感器
Haydon推出的微型霍尔传感器能够监测永磁式和混合式固定轴直线步进电机的终端位置。该传感器包含一个霍尔效应器件,该器件由嵌入在内部螺杆末端的稀土磁铁激励。传感器的紧凑外形让它适合用于有限空间的应用。传感器具有几乎无限的循环寿命。 可以提供特殊电缆和连接器。
Haydon的传感器终端以及所有的Haydon Kerk Motion Solutions产品均由技术团队提供支持,该团队负责提供全面的客户支持和应用协助。
技术数据:
| 电源电压(VDC): |
最小3.8至最大24 |
| 电流消耗量: |
最大10 mA |
| 输出电压(工作) |
典型值为0.15,最大0.40;最大下降20 mA |
| 输出电流 |
最大20 mA |
| 输出泄漏电流(释放) |
最大10μA @ Vout = 24 VDC;Vcc = 24 VDC |
| 输出切换时间 |
| 上升,10到90%:典型值为0.05μs,最大值为1.5μs @ Vcc = 12 V,RL = 1.6千欧姆 |
下降,90到10%:典型值为0.15μs,最大值为1.5μs @ CL = 20 pF |
| 温度 |
-40至150℃ |
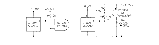
建议的接口图
注意:每个DOD-STD-1686A传感器都是2类ESD敏感元件。装配作业应在工作站上进行,同时导电顶部和操作人员应接地。
请注意传感器需要使用上拉电阻才能正常工作。

尺寸 = 英寸(毫米)
该传感器具有几乎无限的循环寿命。 还可以提供特殊电缆和连接器。